T-connector
Exterior

Shipping Contents
Unless otherwise agreed in the order, the standard shipment includes the following components:
Tee fitting × 1
For the Union type, the shipment also includes:
Union nuts for tee fitting × 2
Union end connectors × 2
Union O-rings × 2
The tee fitting is typically shipped together with the paddlewheel assembly.
Size, material, model
Parts
Material
T-connector
UPVC, PPH or PVDF (for order made)
Nuts
UPVC, PPH or PVDF (for order made)
Union adapter
UPVC, PPH or PVDF (for order made)
Paddle set screws
Stainless steel 304
O-ring
EPDM、VITON、FEPM (for order made)
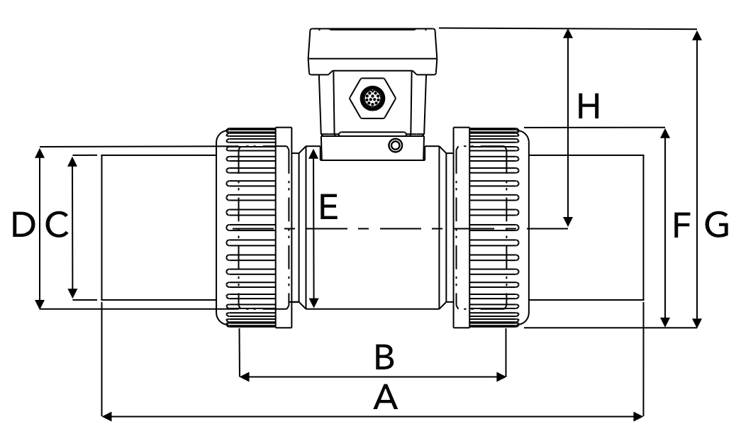
UPVC pipe - union diameter size(mm)

A
B
C
D
E
F
G
H
½"
164
100
27.6
36
62.3
46.2
115.7
86.2
¾"
168
100
32.6
41.9
60
50.5
115.7
85.7
1"
168
100
40.6
50
60
60
115.7
85.7
1¼"
210
114
50.2
59.6
65
75.6
127
89.2
1½"
218
120
56
65.7
70
83
134
92.5
2"
269.5
133.3
72
81
81
99.7
148.8
99
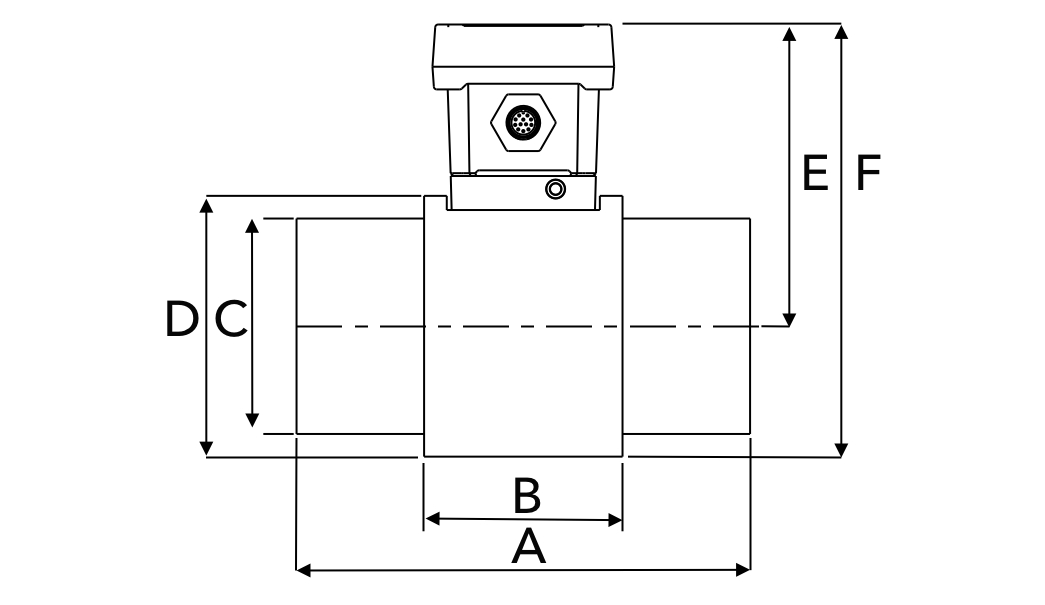
UPVC pipe - spigot pipe diameter size(mm)

A
B
C
D
E
F
2½"
160
70
76
92
106.5
152.5
Device size(mm)

I
J
63
63
Last updated