三通管
外觀照片

出貨內容
除另外協議訂單外,標準出貨內容如下:
三通管 * 1
Union 版另包括以下內容
三通管 Union 螺帽 * 2
三通管 Union 接頭 * 2
三通管 Union 密封圈 * 2
三通管一般會與蹼輪組一同出貨。
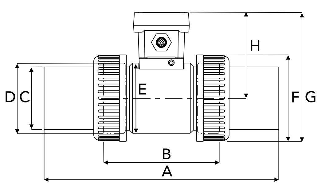
尺寸圖、材質、訂購型號
部品
材質
三通管
UPVC,PPH 或 PVDF(訂製品,無現貨)
螺蝐
UPVC,PPH 或 PVDF(訂製品,無現貨)
由任接頭
UPVC,PPH 或 PVDF(訂製品,無現貨)
蹼輪組固定螺母
不銹鋼 304
由任密封圈
EPDM、VITON、FEPM(訂製品,無現貨)
由令形式的 UPVC 三通管尺寸(mm)

A
B
C
D
E
F
G
H
½"
164
100
27.6
36
62.3
46.2
115.7
86.2
¾"
168
100
32.6
41.9
60
50.5
115.7
85.7
1"
168
100
40.6
50
60
60
115.7
85.7
1¼"
210
114
50.2
59.6
65
75.6
127
89.2
1½"
218
120
56
65.7
70
83
134
92.5
2"
269.5
133.3
72
81
81
99.7
148.8
99
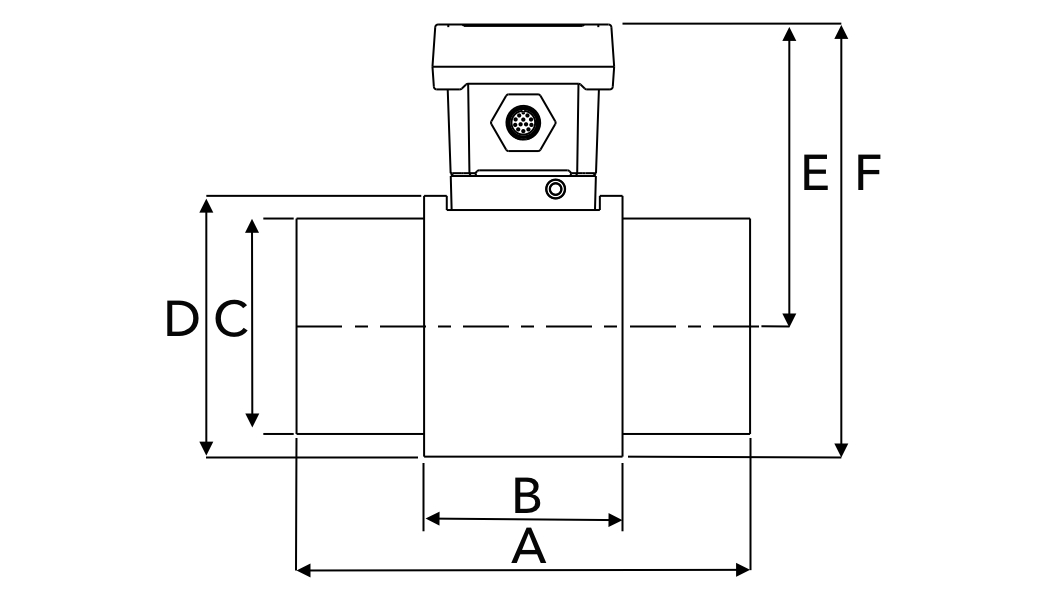
套管形式的 UPVC 三通管尺寸(mm)

A
B
C
D
E
F
2½"
160
70
76
92
106.5
152.5
主機尺寸(mm)

I
J
63
63